首页文章详情

海淀上地领衔,2025北京第八轮拟供地清单出炉

未来城不落2025-10-16 19:13
北京公布9宗宅地供应清单,总建面103万平米。

北京宅地,再上新。

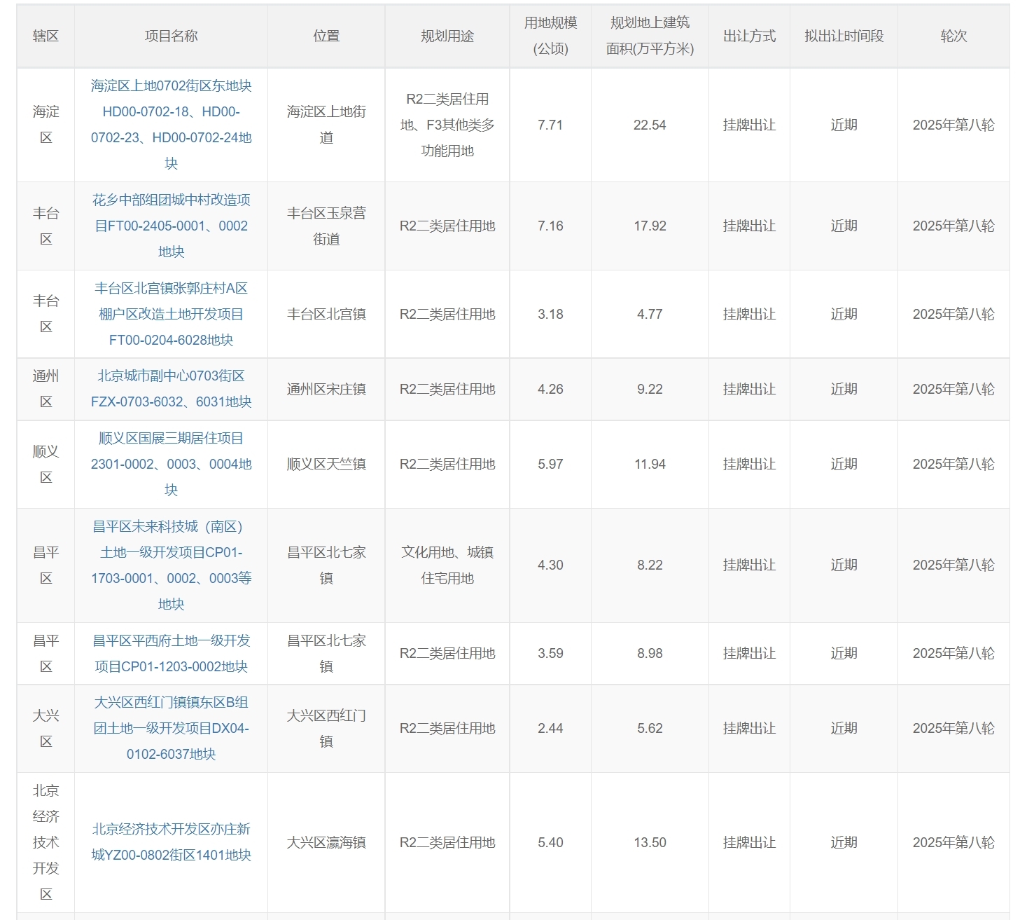
10月16日,2025北京市第八轮拟供应商品住宅用地清单被公布。从北京规自委官网信息看,本轮拟供宅地共有9宗,总土地面积约44万,总建筑规模约103万平米,这些地块都将在近期出让。

就区域分布上,呈“多点开花”。海淀区占据1宗,来自上地板块;丰台区有2宗,其中1宗位于三环外的首经贸板块;其余的6宗则分别来自昌平区(2宗)、通州区(1宗)、顺义区(1宗)、大兴区(1宗)、经济开发区(1宗)。

图源:北京规自委官网

结合过往市场热度看,海淀上地0702街区东地块无疑最优质。

该地块处在上地西路和马连洼北路交汇处,京新高速的西侧,紧挨北大创业园,距离13号线和昌平线换乘站—清河站约1公里,距离另一地铁站—上地站约1.5公里。北侧约1公里处即是有名的中关村软件园,腾讯、联想等大厂遍布。

图源:北京规自委官网

从规模上看,这宗地块也不小,用地面积约7.71万平米,建筑规模约22.54万平米。被分成3个小地块,2块为住宅,1块为多功能用地。

地块周边聚集不少高端项目,西北侧100米外即是今年上半年很火的和樾望云和和樾玉鸣两个项目,指导价为10.5万/㎡;南侧1公里有中海今年以10.23万/㎡楼面价拿下的树村地块,以及曾经火爆的学府壹号院和圆明天颂两豪宅;东南侧2公里外是建发海晏和华润臻澐,单价在13万/㎡左右。

图源:北京规自委官网

周边的配套可以说也很丰富。1公里范围内有华联BHGMall上地店,稍远一些有清河万象汇、西北旺万象汇等商业体;上地医院、解放军总医院第八医学中心、上地公园、树村郊野公园等环伺左右。

另一宗优质宅地来自于丰台花乡板块。

这宗FT00-2405-0001、0002地块,位于丰台区玉泉营街道,处在南三环和南四环之间,邻近地铁房山线花乡东桥站(约300米)、地铁10号线与房山线换乘首经贸站(约700米)。该地块为R2二类居住用地,用地面积约7.16万平米,建筑规模约17.92万平米。

图源:北京规自委官网

地块所在版块是丰台区较为成熟区域,地块往西是天坛医院,北边是北京口腔医院;往南不远是花乡奥莱村,丰科万达、资和信百货、鑫嘉汇购物中心等商业也都在3公里范围内。

图源:北京规自委官网

板块内多为10年楼龄以上的次新房项目和老旧小区,多年无新项目面市。附近新房主要分布在总部基地和丽泽板块,总部基地的北京隅·西颂和中建·云境单价在8.3万/㎡左右;丽泽的中海丽金府等项目单价基本在10万/㎡以上。

对于此次清单中的其他几宗地块,可以说也各有千秋。有的离地铁很近,交通方便,比如亦庄新城YZ00-0802街区1401地块(8号线瀛海站)、昌平北七家CP01-1703-0001、0002、0003等地块(17号线未来科学城站)、丰台张郭庄FT00-0204-6028地块(14号线张郭庄站);有的发展空间较大,如副中心宋庄地块、大兴西红门地块、昌平平西府地块等,所在的板块都在积极开发中,未来城市面貌值得期待。