HomeArticle

New patent exposed: The "watch" can be transformed into a "phone" with a scroll stretching design.

多知网2025-10-28 18:12
The future looks promising.

Duozhi has discovered that recently, Motorola, a subsidiary of Lenovo, has filed multiple patents related to the design of flexible screen deformation. For example, a screen can be used as a watch or a mobile phone. It can be worn on the wrist, held in the hand, or folded and placed on the table, and corresponding functions have been designed for it.

Motorola's patents have opened up new possibilities for the evolution of smart hardware, and also opened up new imagination space for children's smart hardware.

Currently, children's watches have become the core category of children's smart hardware verified by the market. According to the online monitoring data of LOTU Technology (RUNTO), in 2024, the sales volume of children's smart watches on mainstream e - commerce platforms reached 8.637 million units.

Meanwhile, its functions are restricted by the screen size. If Motorola's patents are put into the market, it means that the breakthrough in the flexible form will completely break this physical boundary and bring revolutionary experiences.

01 One Device, Multiple Uses: Transform Your Watch into a Phone Instantly!

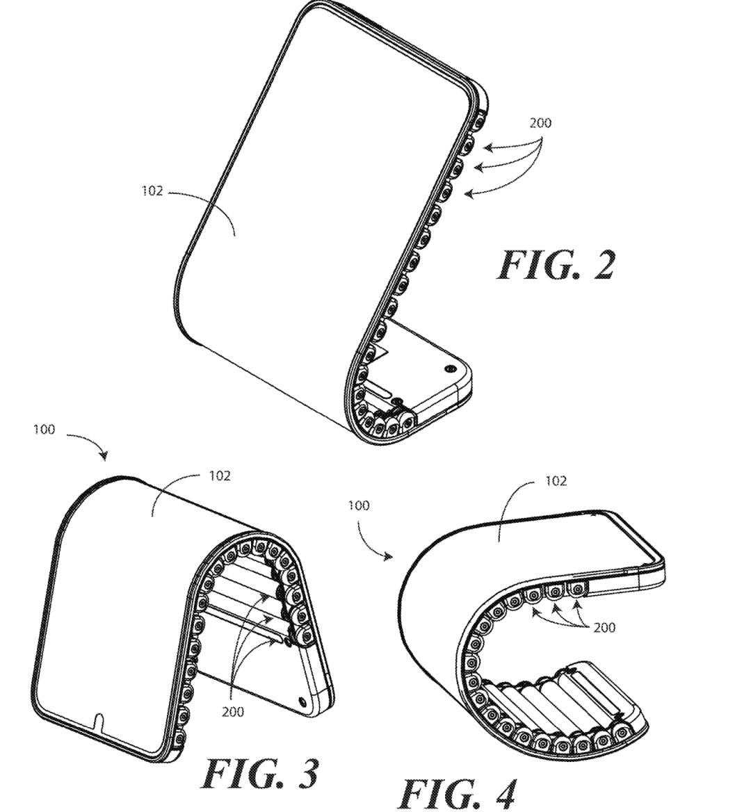
The United States Patent and Trademark Office (USPTO) shows that on August 21 this year, Motorola applied for a patent titled "Electronic Devices Having Morphing Device Housings Allowing Wearable and Handheld Modes of Operation".

The patent shows that this solution provides a deformable electronic device that can be transformed into multiple forms as an adaptive display device (including flat - screen, wearable, and stand forms).

This "scroll - stretch screen" can be used as a smart watch. When users need to view more content, they can take the watch off the wrist, and the device will automatically extend the screen, allowing users to have a reading experience similar to that of a smartphone.

In Motorola's view, as an essential communication device for humans, more and more people are trying different forms of smartphones. Therefore, smartphones have evolved from the fixed straight - board form to the foldable form.

Motorola's "scroll - stretch screen" patent allows one device to have multiple uses. The patent drawings show that the device uses a flexible and retractable display screen and can be equipped with an adjustable strap to fit the wrist, turning it into a smart watch to be worn on the wrist.

It can also be matched with a hinge that provides stretching/folding functions and is equipped with sensors to help the device adjust the screen size in real - time. Thus, it can "provide the convenience of a smart watch when worn and obtain a large - screen visual experience on demand".

02 How to Adapt Functions to Deformable Screens?

However, while this flexibility brings a variety of usage scenarios, it also poses specific challenges - especially when the device is worn on the wrist: users must maintain a specific orientation to keep the flashlight away from their line of sight; when the wrist moves or users view the device, the light may shine directly into their eyes, causing discomfort.

Therefore, on October 14 this year, Motorola applied for a method to deal with deformable screens. The patent is titled "Deformable electronic devices and corresponding methods for moving flashlight output as a function of a change in orientation".

This patent aims to enable the device to operate the flashlight well in both deformed and non - deformed states.

This patent takes into account that when the deformable electronic device is in the wrist - worn state, users have difficulty using the flashlight function effectively. For example, users must wear the deformable electronic device in a specific direction to ensure that the flashlight light is away from their eyes, so as to illuminate the area in front of them as needed.

The patent also considers that if the wrist moves or users glance at the deformable electronic device while walking, the flashlight output may accidentally point at the users' eyes, hindering their natural movement and causing discomfort.

To solve these problems, the patent provides a novel solution, for managing the flashlight function in context - relevant parts of an adaptive wearable display device. That is, through technology, it can identify or sense whether the device is in the wrist - band state and adjust relevant functions in time.

That is to say, if it is not in the wrist - band state, the deformable electronic device can automatically adjust the flashlight output to illuminate the part of the flexible display screen that is not within the user's direct line of sight. This ensures that the flashlight function is effectively utilized without causing glare or discomfort to the user.

In addition, the patent also designs that users can activate the flashlight through specific gestures (such as a "chopping" motion in three - dimensional space). This gesture - based control provides an intuitive and convenient way to enable the flashlight function, further enhancing the user experience.

This patent is similar to the "scroll - stretch screen" patent in August, but its form has some changes. As can be seen from the patent drawings, this device can serve as a smartphone, a PDA, or a tablet computer, and can also be directly bent to be worn around the user's wrist (without adding a strap).

This device can be used for reading, playing games, listening to music, or doing other things.

It can be seen that this screen will be softer. When worn on the wrist, the challenge of screen display will be greater, and the flashlight is just one of the solutions. More problems need to be solved to truly realize it.

It is still unclear whether Motorola's patent can be mass - produced on a large scale. However, this patent demonstrates Motorola's innovative thinking and exploration of future technologies, showing more possibilities for the form of mobile phones.

03 What New Possibilities Will Children's Smart Hardware Have?

Why do education technology companies need to pay attention to this patent? On the one hand, smart watches are the core category in the field of children's smart hardware. On the other hand, in the era of large models, various portable smart hardware products are emerging, and there is an urgent need for a breakthrough portable carrier.

For children/teenagers, watches are a category that cannot be ignored.

According to the online monitoring data of LOTU Technology (RUNTO), in 2024, the sales volume of children's smart watches on mainstream e - commerce platforms reached 8.637 million units, with a cumulative sales amount of 3.84 billion yuan and an average selling price of 444 yuan.

In the online market of children's smart watches, Xiaotiancai, Xiaomi, and Huawei rank among the top three, with a combined market share of up to 45.4%.

It is worth noting that these are only the data from online channels. Considering offline channels, children's smart watches are undoubtedly the largest category of children's smart hardware at present.

The product form of watches precisely matches the needs of children and the safety needs of parents. It gives children a sense of initial independence and a window to connect with the world. However, due to the limitation of the screen, the interaction of children's smart watches mainly stays in the aspects of calls and socializing, and the scenarios it can support are limited.

In the future, with the innovation of forms such as flexible screens, this limitation will be broken. Watches are expected to evolve into a personal growth platform that can carry rich content and services.

Meanwhile, in the era of large models, portable small hardware products are emerging in an endless stream. Various startup companies are exploring children's smart hardware with different forms and functions. After breaking through the screen limitation, there will be more room for development.

The future of children's/teenagers' smart hardware is promising.

This article is from the WeChat official account “Duozhiwang” (ID: duozhiwang), author: Wang Shang. It is published by 36Kr with authorization.